
场外股票配资网
作者 | ZeR0
芯东西6月23日报道,6月20日,芜湖汽车电子公司埃泰克主板IPO获上交所受理。

埃泰克成立于2002年12月,注册资本为1.34亿元,已获评国家级专精特新“小巨人”企业,致力于成为国内领先、国际一流的汽车电子智能化解决方案提供商,主要从事车身域、智能座舱域、动力域、智能驾驶域等四大功能域汽车电子产品的研发、生产及销售,同时为客户提供汽车电子EMS和技术开发服务。

根据高工智能汽车研究院的统计,该公司在2024年中国市场(不含进出口)自主品牌乘用车车身BCM(含区域控制器)份额为25.50%,连续三年排名第一,打破了国际厂商在该领域的长期垄断;在中国市场乘用车前装标配遥控实体钥匙份额为13.83%,排名第一;在中国市场自主品牌乘用车前装标配座舱域及显示屏总成的份额为6.41%,排名第三。
其客户矩阵已覆盖奇瑞汽车、长安汽车、长城汽车、上汽集团、吉利汽车、北汽集团、东风汽车等自主品牌整车厂商以及理想汽车、小鹏汽车、零跑汽车等造车新势力;并通过向博世等提供汽车电子EMS,产品最终配套于沃尔沃、奥迪等知名整车厂商。

埃泰克主要产品或服务及其用途具体情况
奇瑞股份、小米长江基金分别持有埃泰克14.99%、 8.19%的股份。国内芯片制造龙头中芯国际旗下的中芯聚源、聚源铭领、中芯熙诚等企业,国内存储芯片龙头兆易创新,也都是埃泰克的股东。
本次IPO,埃泰克拟募资15亿元,用于埃泰克年产500万件汽车电子项目、伯泰克汽车电子生产基地扩建项目、研发中心建设项目及补充流动资金。

一、三年累计收入逾86亿
埃泰克自2003年起开始自主研发汽车仪表和车身电子产品,2012年至2020年发展聚焦于车身域及动力域电控业务,2021年至今围绕整车智能化继续布局,通过收购伯泰克切入智能座舱域,构建了车身域电子产品、智能座舱域电子产品、动力域电子产品以及智能驾驶域电子产品四大产品线。

埃泰克产品及业务演变历程
2022年、2023年、2024年,埃泰克的营收分别为21.74亿元、30.08亿元、34.68亿元,净利润分别为0.94亿元、1.97亿元、2.13亿元,研发费用分别为0.83亿元、1.03亿元、1.80亿元,各期末总资产规模分别为21.92亿元、28.35亿元、32.76亿元。

2022年~2024年埃泰克营收、净利润、研发支出变化(芯东西制图)
其超过一半的收入均来自车身域电子产品,去年有36.02%的收入来自智能座舱域电子产品、1.90%的收入来自动力域电子产品,智能驾驶域电子产品则贡献了1.98%的年收入。

同期,埃泰克综合业务毛利率分别为16.52%、16.49%、17.05%,基本保持稳定;主营业务毛利率分别为14.85%、16.25%、17.12%,整体呈上升趋势,分产品的毛利率情况如下:

其车身域电子产品、动力域电子产品和智能驾驶域电子产品平均价格呈下降趋势,智能座舱域电子产品平均价格呈上升趋势。

报告期内,该产品综合产能利用率分别88.89%、99.43%、91.81%,综合产销率分别为94.60%、95.37%、96.85%,保持较高水平。
截至2024年年底,埃泰克共有851名研发人员,占其员工总数的48.19%。
截至报告期期末,该公司拥有授权专利169项,其中发明专利49项,实用新型专利96项,外观设计24项,拥有软件著作权14项。
二、奇瑞、长安、长城、理想、上汽、博世、合众为大客户
长期以来,整车五大功能域的关键技术与市场主要由博世、电装、大陆等国际大型汽车电子厂商占据主导地位。
随着本土汽车电子企业的整体技术实力不断提升,部分本土优质汽车电子企业在细分领域已具备自主配套能力,并逐步打破了国际大型汽车电子厂商在核心零部件领域的垄断地位。
2022年、2023年、2024年,埃泰克对前五大客户的销售收入占比分别为73.16%、80.92%、84.38%,客户集中度较高。

同期,该公司对关联方销售收入的金额分别为6.00亿元、10.64亿元、18.69亿元,占公司营收的比例分别为27.60%、35.36%、53.89%,其中对奇瑞汽车关联销售收入的金额分别为6.00亿元、10.63亿元、18.69亿元。
埃泰克生产用原材料主要包括电子元器件、显示屏、结构件、PCB等。其主要原材料采购数量及金额情况如下:

2022年、2023年、2024年,埃泰克对前五大供应商的采购金额占当期原材料采购总额的比例分别为 29.50%、32.13%、35.52%,不存在严重依赖个别供应商的情况。

三、小米、奇瑞、中芯国际、兆易创新参投,实际控制人持股比例较低
CHEN ZEJIAN是埃泰克的法定代表人、实际控制人,中文名为陈泽坚,澳大利亚国籍华人,出生于1964年2月,拥有中国永久居留权,是合肥工业大学、安徽师范大学兼职教授,曾在2005年兼任奇瑞汽车工程研究院副院长。
本次发行前,CHEN ZEJIAN可控制埃泰克34.36%股份表决权,比例相对较低。本次发行完成后,CHEN ZEJIAN控制的股份表决权比例将被进一步稀释。

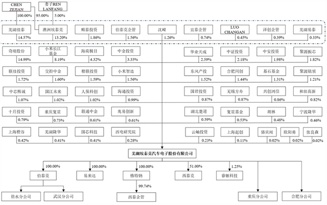
埃泰克股权结构
埃泰克的控股股东是芜湖佳泰智能技术有限公司、Atech Automotive Pty Ltd.,控股股东的一致行动人为顺泰投资、伯泰克企管、宜泰企管、泽创企管、芜湖易泰、沈嵘、LUO CHANGAN。
截至招股书签署日,其他持有埃泰克5%以上股份的主要股东为奇瑞股份、小米长江基金、海南极目、小米智造,分别持股14.99%、 8.19%、 4.32%、1.56%。其中小米长江基金、海南极目、小米智造系小米科技有限责任公司同一控制下企业,合计持有埃泰克14.07%的表决权。
埃泰克前十名股东及持股情况如下:

国内芯片制造龙头中芯国际旗下的中芯聚源、聚源铭领、中芯熙诚,国内存储芯片龙头兆易创新,均在埃泰克的股东之列。
2024年,埃泰克董事、取消监事会前在任监事、高级管理人员及其他核心人员从埃泰克及其关联企业获得收入情况如下:

结语: 汽车电子自主可控已成必然趋势
我国汽车电子产业起步相对较晚,与国际大型汽车电子厂商相比,国内厂商在品牌、技术、资金等方面具有一定的劣势。但随着我国汽车产业的快速发展与深度变革,本土汽车电子厂商在汽车电子产品开发与产业化方面积累了丰富的经验,部分产品在性能、品质以及功能等方面已经达到国际领先水平。
相较于国际大型汽车电子厂商,本土汽车电子厂商在产品价格、响应速度以及配套服务等方面具有更显著的优势;与此同时,随着全球供应链风险上升,推动汽车行业关键产业链环节实现自主可控已成为必然趋势,汽车电子国产化,为本土汽车电子厂商发展提供重要机遇。
埃泰克现已成为国内少数具备多功能域汽车电子产品开发能力的国产供应商之一。通过本次发行,埃泰克计划进一步通过自主研发提升核心技术水平场外股票配资网,加强技术攻坚和产品创新,加大市场开拓力度,扩大业务规模,加快推进我国汽车电子行业的国产化进程,持续助力我国在汽车电子行业关键产业链环节实现自主可控。
第二证券提示:文章来自网络,不代表本站观点。